Plinten plaatsen
Het plaatsen van plinten is belangrijk om een ruimte een professioneel en strak afgewerkte uitstraling te geven. Het is een van de laatste stappen in het afwerken van een woning. Ze zijn niet alleen decoratief, maar beschermen je muren ook tegen stoten en vuil. Plinten plaatsen is een project dat je eenvoudig zelf kunt doen. In ons handige stappenplan laten we je zien hoe je hoge en lage plinten op de juiste manier meet, zaagt, bevestigt en afwerkt.
De voorbereiding
Een goede voorbereiding is belangrijk voor elk project. Zorg allereerst dat je het juiste aantal plinten in huis hebt. Daarnaast is het belangrijk dat je de muur controleert. Zorg dat deze vuil- en vetvrij is. Heb je een nieuwe vloer gelegd? Snijd dan het overtollige deel van de ondervloer weg.
Hoeveel plinten heb je nodig?
Je kunt eenvoudig zelf berekenen hoeveel plinten je nodig hebt. Allereerst meet je de totale lengte van de muur waar je plinten wilt plaatsen. Vervolgens tel je hier 10% bij op. Dit is het zaagverlies waarmee je rekening moet houden. Nu weet je hoeveel meter plint je nodig hebt voor jouw project.
Plinten worden vaak geleverd in standaardlengtes. Deel de totaal benodigde lengte (inclusief zaagverlies) door de lengte van de plint die je wilt bestellen. Rond dit getal naar boven af om te bepalen hoeveel plinten je moet bestellen.
Formule: Lengte muren x 1,10/Lengte plint = aantal benodigde plinten
Plinten verven
Je kunt de plinten verven voor óf na het plaatsen. Dit is afhankelijk van de bevestigingsmethode. Ga je de plinten lijmen? Dan is het beste en het makkelijkste om ze vóór het bevestigen te lakken. Ga je de plinten schroeven? Dan kun je ze het beste na de tijd lakken. Je wilt dan namelijk de schroefgaten vullen, mooi afwerken en vervolgens aflakken.
Als je de plinten gaat schilderen, maak je ze eerst vrij van stof, vet en vuil. Schuur de plinten lichtjes (P220-280 schuurpapier) en breng een laag lak aan. Voor het beste resultaat wordt aangeraden om de plinten twee keer te lakken. Als je de achterkant van de plinten ook lakt, vermijd je dat ze kunnen gaan kromtrekken.
Het stappenplan
Klaar om de plinten te plaatsen? Volg dan onderstaand stappenplan!
Plinten inmeten
Begin bij een hoek en meet de lengtes op van alle muren. Schrijf deze op, zodat je weet hoe lang elke muur is.
Plinten zagen en bewerken
Na het meten van de muren, kun je de plinten op maat zagen. Het wordt altijd aanbevolen om hardhout machinaal te gaan zagen. Een elektrische afkortzaag of cirkelzaag voldoet hiervoor. Bijna iedere ruimte in een woning beschikt wel over een aantal hoeken. Dit kunnen buiten- en binnenhoeken zijn. Het mooiste is om zowel de hoge als lage plinten in verstek te zagen. Dit zorgt voor het meest strakke resultaat en aansluiting. Lage plinten, ook wel plakplinten genoemd, kun je ook knippen met een verstekschaar of plintenschaar.
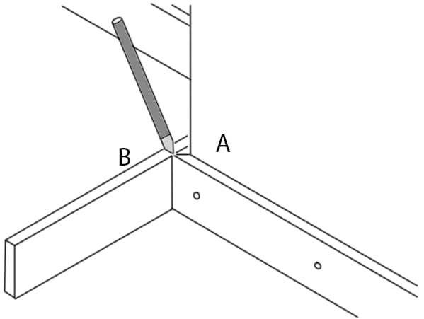
Hoe kun je plinten in verstek zagen?
Is de hoek van de muur 90 graden? Dan kun je de plinten haaks afzagen. Dit doe je bij een buitenhoek als volgt:
- Meet muur A en voeg de dikte van de plint toe.
- Zaag plint A onder een hoek van 45 graden. Dit noemt men verstek zagen.
- Plaats plint A tegen de muur. Bij plint A is het verstek naar binnen toe gericht.
- Plaats nu plint B tegen plint A aan. Teken op plint B de rand van de muur af.
- Zaag plint B op maat, opnieuw onder een hoek van 45 graden. Let op: ditmaal wijst het verstek naar buiten.

Hoe kun je de plinten mooi afwerken bij de deur?
De aansluiting van de plint bij het kozijn is misschien iets lastiger. Is de plint gelijk qua dikte met het kozijn? Dan is het mooiste om de aansluiting van de plint met het kozijn in verstek te zagen. Is de plint dikker dan het kozijn? Dan kun je dit het mooist afwerken door een plintneut te plaatsen.

Heb je te maken met een niet-haakse hoek? Meet dan de hoek en deel deze door twee voor beide delen. Dus, bijvoorbeeld, voor een hoek van 100 graden zaag je beide plinten af op een hoek van 50 graden.
Plinten bevestigen
Nu je de plinten op maat hebt gezaagd, is het tijd om ze te bevestigen. Je kunt hoge plinten bevestigen door ze te lijmen of te schroeven. Meestal wordt gekozen voor lijmen, omdat dit de meest eenvoudige en minst tijdrovende manier van monteren is. Plinten lijmen zorgt namelijk voor een strak resultaat zonder zichtbare schroeven.
De plinten lijmen doe je als volgt:
- Maak de ondergrond goed schoon en stofvrij.
- Breng High Tack lijm in klodders aan op de achterkant van de plint, waarbij je een zigzagpatroon creëert met ongeveer 15 centimeter tussen elke klodder kit. Zorg dat deze lijm op kamertemperatuur is en gebruik een krachtig lijmpistool. Met High Tack lijm kun je plinten ook lijmen op stucwerk.
- Druk de plint stevig tegen de muur met de vlakke hand.
- Bevestig de rest van de hoge plinten op dezelfde manier.
Lage plinten hebben over het algemeen een plakstrip, waardoor je ze eenvoudig kunt bevestigen.
Afkitten plinten
Om de openingen tussen de plinten en de vloer op een hygiënische en waterdichte manier af te sluiten, moet je de plinten afkitten. Dit voorkomt dat vuil zich tussen de plinten ophoopt en geeft het geheel een nette en afgewerkte uitstraling.
Het afkitten van de onderkant van de plinten is het mooist met een siliconenkit. Je kunt de plint ook afkitten aan de bovenkant. Hier wordt meestal gekozen voor een acrylaatkit vanwege de overschilderbaarheid. Dit kun je bijvoorbeeld doen met Zwaluw Acryl-W.
Het afkitten van zowel de bovenkant als de onderkant van de plint doe je als volgt:
- Zorg dat de ondergrond schoon en droog is.
- Snijd de kit open en plaats hem op het kitpistool voorzien van een spuitmond.
- Druk lichtjes op de hendel en breng de kit in een vloeiende beweging aan.
- Strijk daarna de kitrand af met het topje van je vinger of een speciale spatel.
Vragen over het plaatsen van plinten?
Na het volgen van de stappen heb je de plinten strak bevestigd en afgewerkt. Is er nog iets onduidelijk of zoek je aanvullend advies bij het plinten monteren of ons ander lijstwerk? Neem dan contact met ons op!

